Modeles 3D utiles
Module Ultra son GROVE
Module Stick 10 LED GROVE
Accueil du site
Module Ultra son GROVE
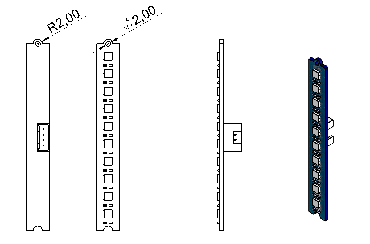
Module Stick 10 LED GROVE